全電動稱重油桶車適合鐵桶
產品介紹
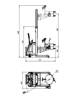
全電動稱重油桶車適合化工,油漆,涂料,食品等行業的鐵桶手動夾緊,搬運移位,裝卸,360度翻轉倒料.
不銹鋼稱重顯示儀表,有置零,去皮,稱重功能,稱重精度高.
夾桶牢固,將搬運與傾倒油料兩種功能溶于一車.
鉛酸牽引型蓄電池耐久性好,適合長時間工作.
強勁有力的驅動系統,性能穩定.
提升泵站集直流電機、齒輪泵、閥片及管路元件于一體;具有體積小、可靠性高、工作平穩、節能、降噪、環保等優點.
智能型充電器無需人看護,自動斷電.超靜音耐磨PU輪,對地面有保護作用.
The model is also wide used moving and pouring materials in chemical,printing,food industry.
Steel plate scale with the function of zero setting,weighting and decorticate,high accuracy.
The clamp is firm,can move and tilt material.
Durable lead-acid battery can work Continuously for a long time.
Strong and stable driving system.
Lifting pump with the parts of DC motor,valve and pipe element in one.They are small volume,stable performance,noiseless,environment friendly.
Supplier offer charger,which can give hints automatically when charging is completed.
Noiseless PU Wheels will not scratch the floor.
產品參數
產品圖片
1.客戶收到的產品與訂貨產品型號不符。
2.客戶收到的產品不符合訂貨要求中的規定,造成不能正常使用。
4.在交貨的運輸過程中造成產品缺損,無法修復。
售后說明
1.整車保修一年
2.整車鋼結構焊接斷焊或斷裂一年內正常保修(超載導致變形,變形不保修)
3.24小時到48小時內到達或解決
4.提供操作視頻講解更換配件
5.終身提供配件
鄭重承諾
不好使用包退換!
采購:全電動稱重油桶車適合鐵桶
- *聯系人:
- *手機:
- 公司名稱:
- 郵箱:
- *采購意向:
-
*驗證碼:
跟此產品相關的產品 / Related Products

- 半電動搬運車
- 高性價比、經濟節能、綠色環保; 結構精致、設計精湛,外形簡約; 體積小巧,轉向輕便,輕松操作; 充分滿足大多數客戶的載重使用需求; 部件組裝模塊化,便于維護; 高強度車身和貨叉,堅固耐用,超長壽命設計

- 火車輪專用全電動搬運車
- 全電動火車輪搬運車,專用于火車輪拆裝移位的作業。 車體設計的專用保護夾具,在拆卸時良好地保護著火車輪不受擠壓,碰撞。 具有操作舒適、穩定性高、操作簡便、噪音低、無污染、故障率低等特點。 是火車站內高效,安全,環保型理想搬運設備。 步行式操作,無級變速行駛,大大提高工作效率。

- 8T重型電動搬運車
- 符合歐洲EN1757-1:2001,EN1727 標準; 大容量的牽引電池,充電方便快捷,電量持久; 可選配折疊式踏板,開閉操作方便; 臺灣極智泵站,體積小,可靠性高,工作平穩,節能,降噪,環保; 美國進口的科蒂斯(Curtis)交流電控系統反應靈敏,操控自如,可靠性高; 加裝安全防爆閥,液壓軟管一旦失效情況下貨物不會快速下落,確保操作人員人身安全。





